Friday February 2026

হটলাইন

কনটেন্টটি শেষ হাল-নাগাদ করা হয়েছে: শুক্রবার, ৮ অক্টোবর, ২০২১ এ ০৫:১৭ PM

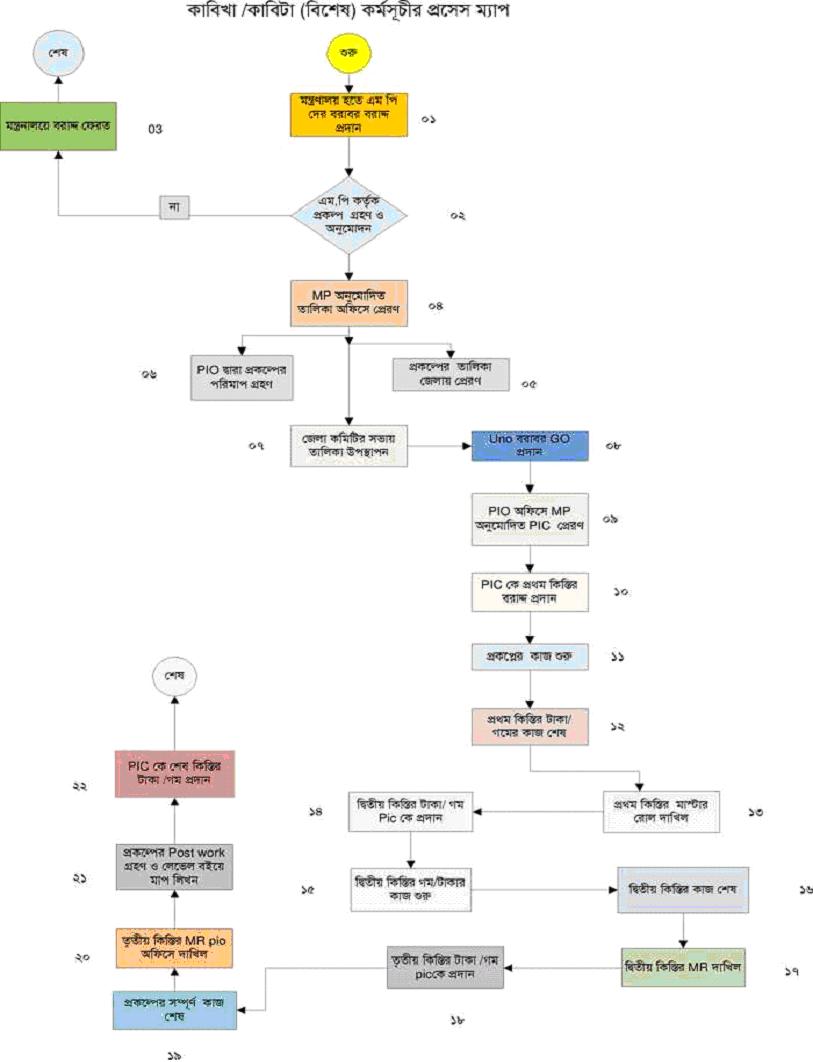
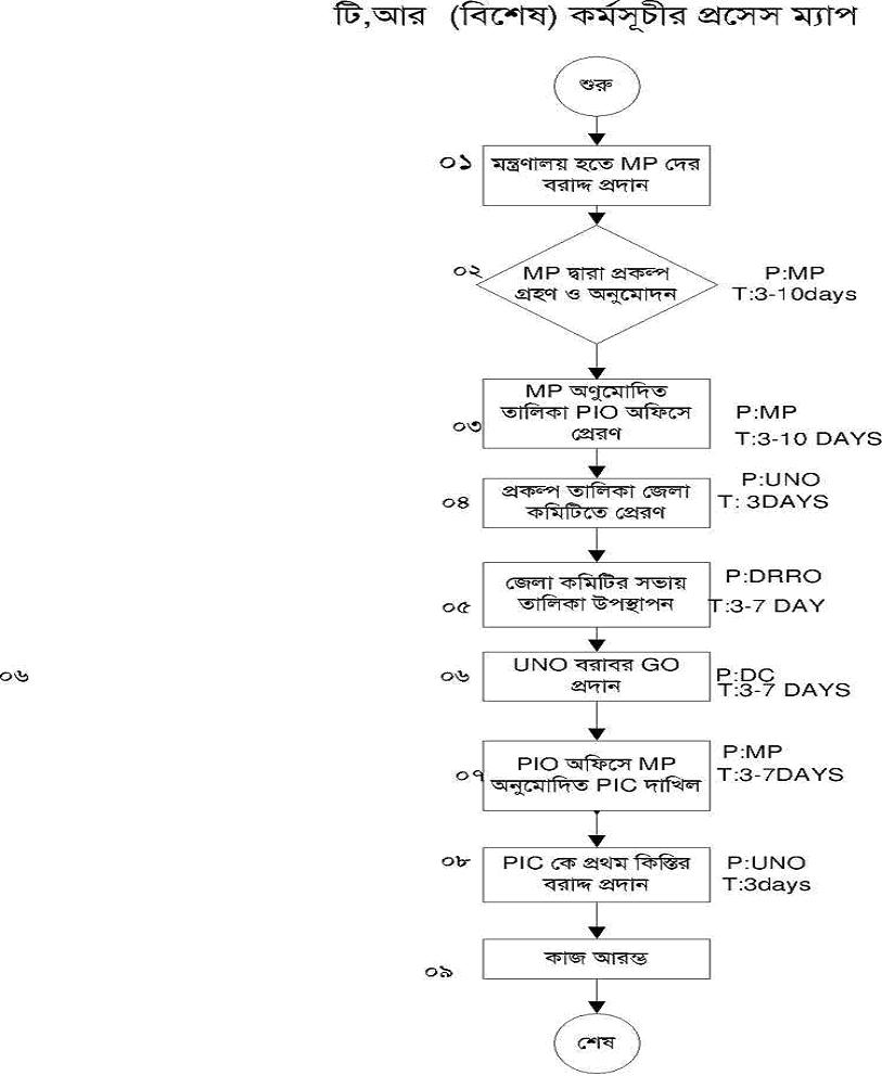
গ্রামীণ অবকাঠামো সংস্কার (কাবিখা/কাবিটা) ও গ্রামীণ অবকাঠামো রক্ষণাবেক্ষণ (টি,আর) সেবার ধাপ সমূহ।

কন্টেন্ট: পাতা

ফাইল ১

এক্সেসিবিলিটি

স্ক্রিন রিডার ডাউনলোড করুন